
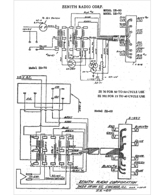
Marque :
Zenith
Modèle :
ZE60
Type appareil :
récepteur à tubes
Année :
1930
Pays d'origine :
États-Unis
