
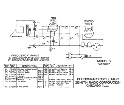
Marque :
Zenith
Modèle :
S8500Z
Type appareil :
récepteur à tubes
Année :
1941
Pays d'origine :
États-Unis
