
Marque :
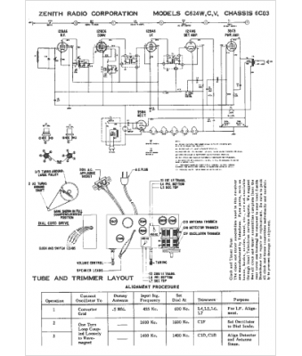
Zenith
Modèle :
C624C
Type appareil :
récepteur à tubes
Année :
1960
Pays d'origine :
États-Unis
