
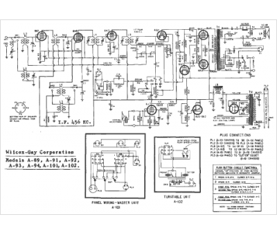
Marque :
Wilcox-Gay
Modèle :
A-94
Type appareil :
récepteur à tubes
Année :
1941
Pays d'origine :
États-Unis
