
Marque :
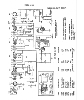
Wilcox-Gay
Modèle :
A-106
Type appareil :
récepteur à tubes
Année :
1937
Pays d'origine :
États-Unis
