
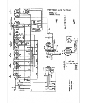
Marque :
Western Air
Modèle :
W151
Type appareil :
récepteur à tubes
Année :
1932
Pays d'origine :
États-Unis
