
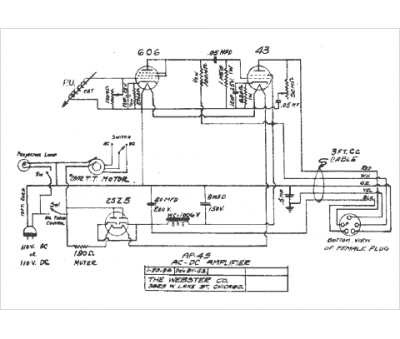
Marque :
Webster
Modèle :
AP-45
Type appareil :
récepteur à tubes
Année :
1936
Pays d'origine :
États-Unis
