
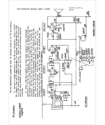
Marque :
Watterson
Modèle :
4802
Type appareil :
récepteur à tubes
Année :
1950
Pays d'origine :
États-Unis
