
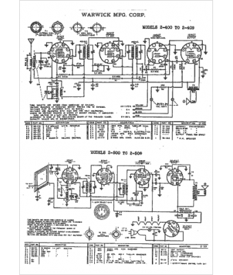
Marque :
Warwick
Modèle :
2-408
Type appareil :
récepteur à tubes
Année :
1942
Pays d'origine :
États-Unis
