
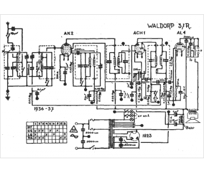
Marque :
Waldorp
Modèle :
37 r
Type appareil :
récepteur à tubes
Année :
1936
Pays d'origine :
Allemagne
