
Marque :
Volksempfangers
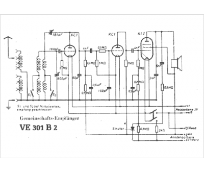
Modèle :
VE 301 B2
Type appareil :
récepteur à tubes
Pays d'origine :
Allemagne
