
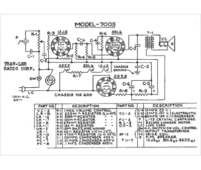
Marque :
Trav-ler
Modèle :
7005
Type appareil :
récepteur à tubes
Année :
1946
Pays d'origine :
États-Unis
