
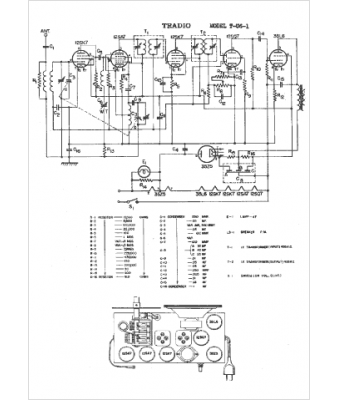
Marque :
Tradio
Modèle :
U-6-1
Type appareil :
récepteur à tubes
Année :
1949
Pays d'origine :
États-Unis
