
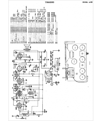
Marque :
															Tradio																																															
														Modèle :
																LU6																																	
															Type appareil :
																récepteur à tubes
															Année :
																1949
															Pays d'origine :
																États-Unis
															




