
Marque :
Telefunken-Albis
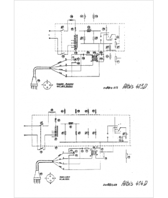
Modèle :
413
Type appareil :
récepteur à tubes
Pays d'origine :
Suisse
