
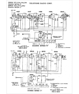
Marque :
															Tele-Tone																																															
														Modèle :
																118																																	
															Type appareil :
																récepteur à tubes
															Pays d'origine :
																États-Unis
															