
Marque :
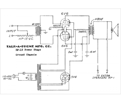
Talk a Phone
Modèle :
Booster HP15
Type appareil :
récepteur à tubes
Année :
1940
Pays d'origine :
États-Unis
