
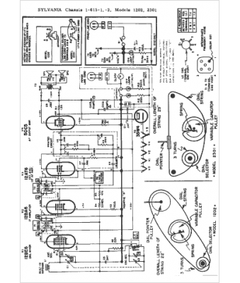
Marque :
Sylvania
Modèle :
1202
Type appareil :
récepteur à tubes
Année :
1957
Pays d'origine :
États-Unis
