
Marque :
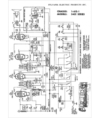
Sylvania
Modèle :
1-612-1
Type appareil :
récepteur à tubes
Année :
1957
Pays d'origine :
États-Unis
