
Marque :
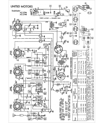
Studebaker
Modèle :
AC-2746
Type appareil :
récepteur à tubes
Pays d'origine :
États-Unis
