
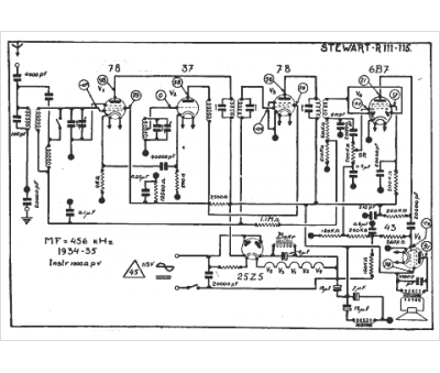
Marque :
Stewart Warner
Modèle :
R 115
Type appareil :
récepteur à tubes
Année :
1934
Pays d'origine :
États-Unis
