
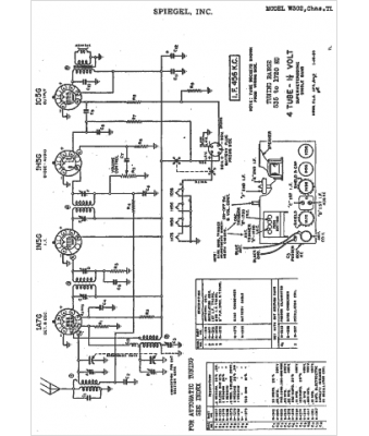
Marque :
Spiegel
Modèle :
TL
Type appareil :
récepteur à tubes
Année :
1939
Pays d'origine :
États-Unis
