
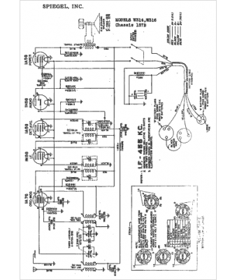
Marque :
Spiegel
Modèle :
187B
Type appareil :
récepteur à tubes
Année :
1942
Pays d'origine :
États-Unis
