
Marque :
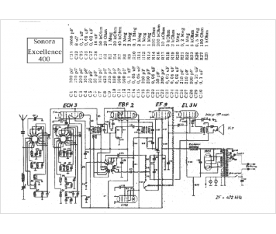
Sonora
Modèle :
Excellence 400
Type appareil :
récepteur à tubes
Année :
1948
Pays d'origine :
France, États-Unis
