
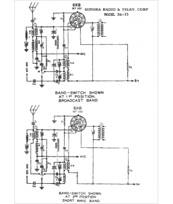
Marque :
Sonora
Modèle :
EA-33
Type appareil :
récepteur à tubes
Année :
1949
Pays d'origine :
France, États-Unis
