
Marque :
Siemens-Albis
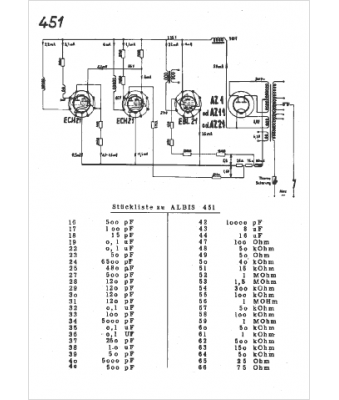
Modèle :
451
Type appareil :
récepteur à tubes
Pays d'origine :
Suisse
