
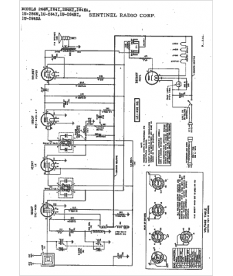
Marque :
Sentinel
Modèle :
284-W
Type appareil :
récepteur à tubes
Année :
1946
Pays d'origine :
États-Unis
