
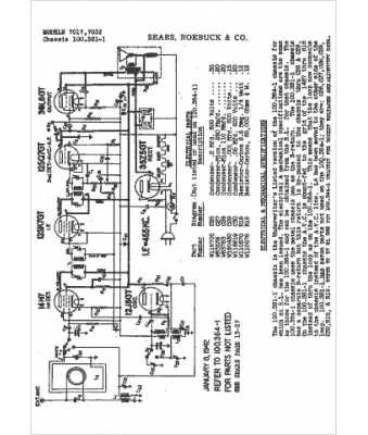
Marque :
Sears Roebuck
Modèle :
7032
Type appareil :
récepteur à tubes
Année :
1942
Pays d'origine :
États-Unis
