
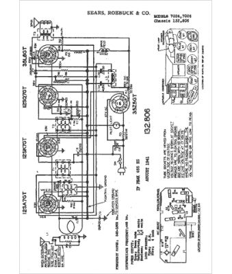
Marque :
Sears Roebuck
Modèle :
7026
Type appareil :
récepteur à tubes
Année :
1957
Pays d'origine :
États-Unis
