
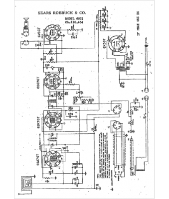
Marque :
Sears Roebuck
Modèle :
6072
Type appareil :
récepteur à tubes
Année :
1947
Pays d'origine :
États-Unis
