
Marque :
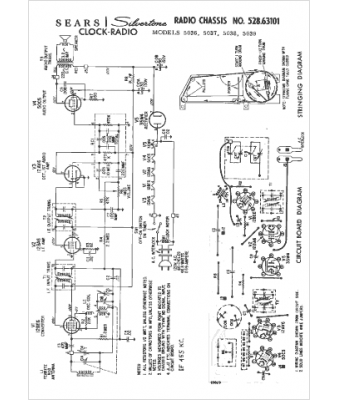
Sears Roebuck
Modèle :
528.63101
Type appareil :
récepteur à tubes
Année :
1965
Pays d'origine :
États-Unis
