
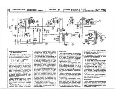
Marque :
Schneider
Modèle :
T
Type appareil :
récepteur à tubes
Année :
1935
Pays d'origine :
France, Allemagne
