
Marque :
Schneider
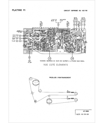
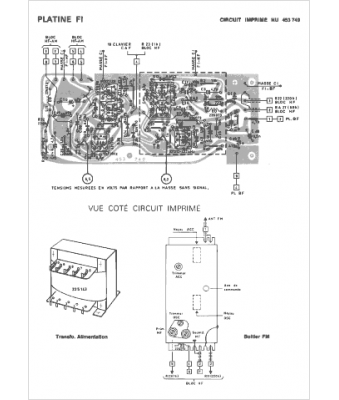
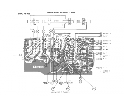
Modèle :
AT 5000
Type appareil :
récepteur à transistors
Pays d'origine :
France, Allemagne
