
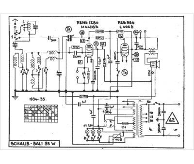
Marque :
Schaub Lorenz
Modèle :
Bali 35 w
Type appareil :
récepteur à tubes
Année :
1934
