
Marque :
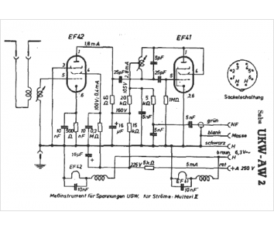
Saba
Modèle :
UKW-AW2 2
Type appareil :
récepteur à tubes
Pays d'origine :
Allemagne
