
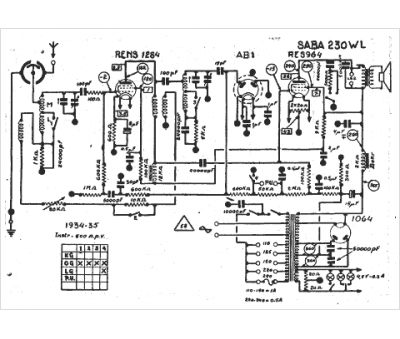
Marque :
Saba
Modèle :
230 WL
Type appareil :
récepteur à tubes
Année :
1934
Pays d'origine :
Allemagne
