
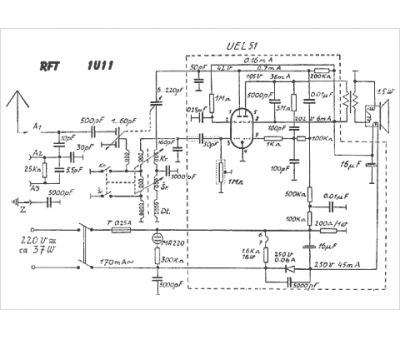
Marque :
RFT Fernmeldewerk Treptow VEB
Modèle :
1 U 11
Type appareil :
récepteur à tubes
Pays d'origine :
Allemagne
