
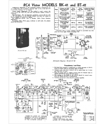
Marque :
RCA
Modèle :
BK41
Type appareil :
récepteur à tubes
Année :
1940
Pays d'origine :
États-Unis
