
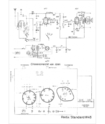
Marque :
Radix
Modèle :
W 46
Type appareil :
récepteur à tubes
Pays d'origine :
Allemagne
