
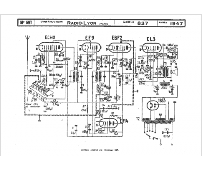
Marque :
Radio Lyon
Modèle :
837
Type appareil :
récepteur à tubes
Année :
1947
