
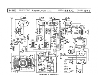
Marque :
Radio Lyon
Modèle :
83 tc
Type appareil :
récepteur à tubes
Année :
1946
