
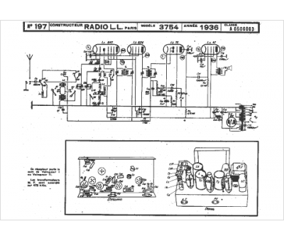
Marque :
Radio LL
Modèle :
3754
Type appareil :
récepteur à tubes
Année :
1936
Pays d'origine :
France
