
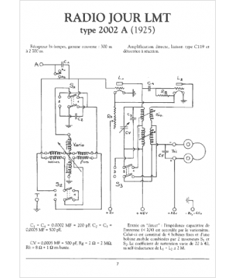
Marque :
															Radio Jour LMT																																															
														Modèle :
																2002 A																																	
															Type appareil :
																récepteur à tubes
															Année :
																1925
															Pays d'origine :
																France
															




