
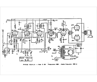
Marque :
Radio Aquila
Modèle :
S 85
Type appareil :
récepteur à tubes
Pays d'origine :
Italie
