
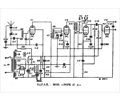
Marque :
Pope
Modèle :
27 A
Type appareil :
récepteur
Pays d'origine :
Italie
