
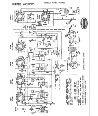
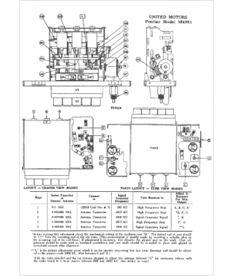
Marque :
Pontiac
Modèle :
984961
Type appareil :
récepteur à tubes
Année :
1955
Pays d'origine :
États-Unis
