
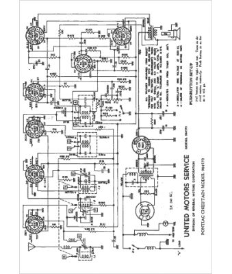
Marque :
Pontiac
Modèle :
984570
Type appareil :
récepteur à tubes
Année :
1950
Pays d'origine :
États-Unis
