
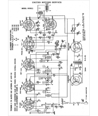
Marque :
Pontiac
Modèle :
983911
Type appareil :
récepteur à tubes
Année :
1941
Pays d'origine :
États-Unis
