
Marque :
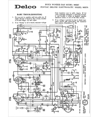
Pontiac
Modèle :
983578
Type appareil :
récepteur à tubes
Année :
1963
Pays d'origine :
États-Unis
