
Marque :
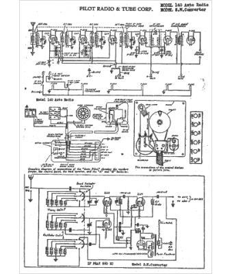
															Pilot																																															
														Modèle :
																SW converter																																	
															Type appareil :
																récepteur à tubes
															Année :
																1930
															Pays d'origine :
																Grande-Bretagne, États-Unis
															